Оферта
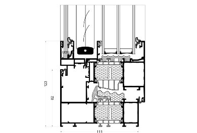
Genesis 75 с интегрирана щора
- система, проектирана на базата на Genesis 75 (GN011 + GN031), с възможност за допълване с последващи профили от семейството на GN75
- конструкцията на системата е разширена с възможност за интегриране на вътрешна ламела между основния стъклопакет и допълнителното външно стъкло
- 4-камерен стъклопакет, осигуряващ още по-добри акустични параметри (в диапазона 46 до 50 dB в зависимост от използваното стъкло, за конструкция на двукрил прозорец с фиксиран делител с размери 2100 x 1900 мм)
- допълнително стъкло: 6 или 8 мм - закалено
- скрито прокарване на кабели в рамката и крилото
- възможност за монтаж на автоматизация на щората
- Uw = 0,79 W/m²K – за прозорец с размери 2100 x 1800 мм, със стъкло Ug = 0,5 W/m²K и дистанционер Swisspacer Ultimate
- възможни комбинации на конструкции с: еднокрил прозорец, двукрил прозорец с фиксиран делител.
Техническа спецификация
| Система | Материал | Дълбочина на профила | Ширина на стълба | Дълбочина на крилото | Макс. ширина на крилото | Сечение стълб/крило | Сечение рама/крило | Типове прозорци | Топлотехнически параметри Uw* | Акустика** |
| GN 75 прозорец с интегрирана щора | алуминий / полиамид | 82 мм | 124 мм | 87 мм | 26 мм | 205 мм | 122 мм | еднокрил, двукрил с неподвижен средник | Uw* от 0,79 W/m²K | 46 – 50 dB** |
* Параметър за прозорец с размери 2100 x 1800 мм, със стъкло Ug = 0,5 W/m²K и дистанционер Swisspacer Ultimate
** В зависимост от използваните стъкла
